Putere tractor: 20-30CP
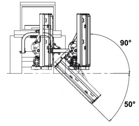
În pantă de la +90% to –50%
Tocătorul FOX Cross este utilizat pentru tăierea ierbii și a crengilor cu diametre de 4-5 cm.
Construit pentru a lucra în pante de la +90% to –50%.
Se cuplează în spatele tractorului, cu prindere în 3 puncte, cu posibilitate de defazaj față de axul central al tractorului până la 130 cm.
Variante constructive:

:
Suport clienti L-V: 8.00 - 16.00; S, D și sărbători legale - Închis
0745266723 0746234347 office@apftrade.ro